Прокачка тормозной системы
Процедура прокачки гидравлического контура тормозной системы заключается в удалении пузырьков воздуха из главного цилиндра, гидравлических шлангов и рабочего цилиндра. Прокачку необходимо выполнять каждый раз при отсоединении или замене различных компонентов и шлангов, а также при выполнении капитального ремонта главного и рабочего цилиндров. Утечки в системе также могут стать причиной попадания воздуха, но утечка рабочей тормозной жидкости помогает выявить наличие воздуха в системе, а также предупредить вас о необходимости выполнения ремонтных работ.
Внимание! Тормозная жидкость ядовита. При попадании на кожу немедленно смыть
При попадании жидкости внутрь, или в глаза немедленно обратитесь за медицинской помощью. Некоторые типы тормозных жидкостей огнеопасны и могут воспламениться при контакте с горячими поверхностями (например: выпускной коллектор). Принимайте меры противопожарной безопасности при обслуживании тормозных систем, а так же бензиновых магистралей (Прим.: имеется риск повреждения топливных путей при обслуживании задней тормозной системы). Гидравлическая жидкость гигроскопична (впитывает влагу из воздуха). Она является ра створителем лакокрасочных покрытий и агрессивна ко многим видам пластмасс (пластиков). При попадании жидкости на вышеперечисленные поверхности, немедленно смойте её. Так как жидкость впитывает влагу, то не допустимо использовать старую жидкость при её замене или доливе. Всегда используйте новую жидкость из герметично опечатанного контейнера (ёмкости).
Тормозная жидкость: SAE J1703 и DOT4 , объём — 0.5 л.
Общее: 1. Правильная работа любой гидравлической системы возможна только при отсутствии воздуха в любом из её компонентов. После ремонта или обслуживания обязательно прокачайте систему.
Последовательность прокачки: Соблюдайте строгую последовательность, что бы гарантировать полное удаление воздуха из системыСтандартная последовательность:a) Правое заднее колесо. b) Левое переднее колесо.c) Левое заднее колесо. d) Правое переднее колесо.
2. Для прокачки используйте только новую тормозную жидкость рекомендованного типа. Никогда более не используйте жидкость, слитую после прокачки системы. Проверьте уровень жидкости в резервуаре. При необх одимости долейте до номинального уровня.
3. Если жидкость в системе устарела, необходимо заменить всю жидкость в системе на новую.
4. Если жидкость частично вытекла из системы, или из-за утечки в систему попал воздух, устраните дефект перед дальнейшей работой.
5. Остановите автомобиль, заглушите двигатель, блокируйте колёса, включив заднюю передачу, затем приступайте к сбросу (сливу) тормозной жидкости.
6. Проверьте целостность (герметичность) гидравлических трубок и шлангов, плотность резьбовых соединений и чистоту поверхности вокруг них, работоспособность штуцерных винтов.
7. Откройте крышку резервуара. Долейте уровень до отметки «MAX«. Во время проведения работ следите, что бы уровень жидкости всегда был выше уровня отметки «MIN«. При падении уровня жидкости ниже минимальной отметки, возможно проникновение (всасывание) воздуха в гидравлическую тормозную систему.
Очистите от грязи и пыли рабочее пространство.Снимите резиновый колпачок штуцера прокачки
Наденьте на штуцер подходящий чистый шланг, второй конец которого опустите в прозрачную тару
Помощник (прокачку тормозов лучше проводить вдвоём) должен нажать несколько раз на педаль тормоза (4-5 раз) и удерживать её в нажатом состоянии.После чего ключом «на 11» отверните штуцер на пол оборота, или чуть больше.
Начнёт вытекать старая тормозная жидкость тёмного цвета (в случае замены жидкости) , вперемешку с воздухом. Педаль тормоза при этом начнёт проваливаться. Ждём пока педаль ровалится до упора, и заворачиваем штуцер. После заворачивания штуцера помощник может отпустить педаль.Повторяем процедуру до тех пор пока не перестанут выходить пузырьки воздуха. После чего переходим к другому колесу, в очерёдности описаной выше.
прокачка передних и задних тормозных механизмов происходят аналогично
Не забывайте во время прокачки следить за уровнем тормозной жидкости в бачке, и доливать её, иначе если она вся выйдет, в систему попадёт воздух.
После прокачки гидравлической системы, педаль тормоза не должна быть мягкой и при нажатии доходить не более чем до сердины своего полного хода.
Мифы о тормозной жидкости
Бытует несколько заблуждений касательно ТЖ, которые принимаются на веру многими водителями.
Первый миф — замкнутый режим работы тормозной жидкости. Компенсационные отверстия, имеющиеся в тормозной системе автомобиля, отвечают за движение воздуха внутри неё. Вместе с потоками воздуха внутрь попадают пары влаги, которые впитываются ТЖ, что приводит к утере ее свойств.
Второй миф — о возможности смешивания между собой разных жидкостей. Конечно, делать это можно, однако далеко не в каждом случае и не со всеми составами. В зависимости от модели автомобиля и его конструктивных особенностей при производстве ТЖ применяются определённые стандарты. По этой причине долить жидкость другой марки и производителя можно, но в крайних случаях и в малых количествах.
Третий миф — жидкости, соответствующие стандарту DOT-4, можно заливать в любые машины. Это не совсем так; конкретной марке и модели автомобиля соответствует определённый вид жидкости. Следует придерживаться требований производителя авто — безопасность и жизнь значительно дороже, чем цена, заплаченная за бутылку ТЖ.
Прокачка тормозов с АБС
Процедура прокачки тормозов с АБС выполняется для того, чтобы удалить лишний воздух из гидравлического привода. Он иногда проникает туда, например, во время ремонта или при замене жидкости. Нельзя допускать присутствие воздуха в этих системах, так как он негативно влияют на работу всех элементов. Прокачивание необходимо, когда педаль нажимается слишком плавно. Перед работой требуется создать удобный доступ ко всем узлам, а для этого потребуется снять колесо или загнать авто на яму.
Что касается автомобилей с системой антиблокировки, то прокачку тормозов у них проводить сложно. Для этого нужно знать, как функционирует система. Но с другой стороны, в случае, когда гидроаккумулятор, насос и клапаны находятся рядом, процедура будет похожа на стандартную. Перед работой автовладельцу нужно найти сканер для считывания информации с ЭБУ. Если машина оснащена другими датчиками, то лучше посетить сервисный центр и отремонтировать систему там. Самостоятельное вмешательство, скорее всего, навредит транспортному средству. Владельцу потребуется много сил и средств, чтобы восстановить систему.
Как прокачать тормоза самостоятельно
Можно ли прокачать тормоза одному без привлечения помощника? Народные умельцы отвечают на этот вопрос положительно, да, вполне возможно.
Они приспособились к выполнению подобной операции и знают несколько способов удаления воздушных пробок из системы торможения автомобиля.
Назовём наиболее популярные варианты:
- С помощью шприца.
- Газового упора.
- Спринцовки в сочетании с прозрачной трубки подходящего размера.
Также можно выполнить эту процедуру, имея в своём арсенале автомобильный сканер Ваг Ком, оснащённый специальной программой.
Рассмотрим подробнее эти варианты.
Как прокачать тормоза через программу Ваг Ком
При помощи программы VAG-COM владелец автомобиля может:
- Удалить воздушные пробки из трубопроводов системы торможения.
- Вернуть заводскую настройку положения педали системы торможения.
Для работы следует подготовить четыре пустые ёмкости для слива «тормозухи» и такое же количество трубок.
Расскажем об этапах подобной операции:
- Автосканер необходимо подключить через диагностический разъём OBD-II к CAN-шине машины.
- Демонтировать все колёса.
- На штуцера системы торможения одеть шланги, другие концы опустить в приготовленные ёмкости.
- Снять крышку расширительного бачка, долить техжидкости до максимального уровня. Во время процедуры нужно контролировать уровень, он не должен опускаться ниже отметки «минимум». По необходимости следует подливать тормозную жидкость в бачок.
- Включив автосканер, нужно выбрать позицию «Блок тормозной системы» (03) – «Базовые параметры» (04) – группа 001. При отсутствии кода необходимо написать его показатель.
- Раскрыть передние штуцера, на компьютерном устройстве выбрать позицию «Вкл./Выкл./Далее». При этом начинает гудеть насос.
- Сканер потребует нажатия педаль тормоза десять раз. Следует выполнить эту команду, после которой насос перестаёт гудеть.
- На экране появляется надпись «закрыть штуцера» – выполнить эту команду.
- Выбрать позицию «Вкл./Выкл./Далее».
- Раскрыть штуцера задних колёс, надеть на них трубки, свободные концы опустить в ёмкости.
- Выбрать «Вкл./Выкл./Далее» – гудит насос.
- Нажать на педаль тормоза 10 раз, насос перестаёт гудеть.
- Закрыть задние штуцера, выбрать «Вкл./Выкл./Далее».
- На мониторе должно появиться сообщение «Частичная прокачка завершена».
Как прокачать тормоза с помощью приспособления для прокачки
Для прокачки с помощи шприца следует иметь при себе сам шприц, крышку от бачка расширения и резервуар для «тормозухи».
Процедура проходит так:
- Шприц вставляется в центр крышки, фиксируется в ней герметиком.
- Затем в него набирается тормозная жидкость, самодельная конструкция закручивается на бачок.
- Колесо, на котором проводится процедура, снимается.
- Ослабляется штуцер, под него ставится резервуар, в который потечёт «тормозуха».
- Шприцом создаётся давление в системе.
- После того как струйка технической жидкости более – менее равномерно потекла в ёмкость, следует закрыть штуцер.
- В расширительный бачок добавляется тормозная жидкость до предельного уровня.
- Основным моментом этого метода является прочность фиксации шприца в крышке бачка и качественная герметизация герметиком.
- Прокачка с газовым упором. В ходе работ нужен будет газовый упор, устанавливаемый от капота машины или задней двери.
Ход выполнения:
- Заполнить тормозной жидкостью бачок до максимального уровня.
- После нажатия на педаль торможения (7 – 10 раз), убрать ногу, заменив её на газовый упор. Педаль при этом фиксируется в крайнем нижнем положении. Второй конец упора можно установить под сиденье переднего кресла.
- Поддомкратить заднее правое колесо, демонтировать его.
- Ослабить ключом штуцер, надеть на него трубку.
- Стравить воздух и излишки технической жидкости.
В этом случае ключевым моментом в работе будет надёжность установки газового упора, а также добавка техжидкости в бачок.
Удаление воздушных пробок спринцовкой. Для проведения операции потребуется спринцовка, она же резиновая груша, она же клизма и прозрачная медицинская трубка, подходящего диаметра.
Рассмотрим алгоритм работы:
- Прозрачную трубку с одной стороны надеть на штуцер, с другой – на грушу, сжимая при этом её рукой.
- Одновременно открыть штуцер и медленно разжать спринцовку. При этом по прозрачному шлангу пойдёт «тормозуха» и пузырьки воздуха.
- После того как резиновая груша примет своё первоначальное положение, нужно закрыть штуцер.
- В месте соединения шланга и груши сделать загиб трубки.
- Снять согнутый шланг, из спринцовки выпустить остатки воздуха.
- Затем следует ещё раз повторить процедуру.
10.2. Заполнение жидкостью тормозной системы. Удаление воздуха из тормозной системы прокачка
Тормозная система прокачивается при замене тормозной жидкости, при попадании в гидропривод воздуха, при проведении ремонтных работ, связанных с разгерметизацией системы.
Гидравлический привод имеет два независимых контура, поэтому каждый контур прокачивается отдельно. Прокачку следует начинать с тормозного механизма, наиболее удаленного от главного тормозного цилиндра, то есть с правого. Прокачка выполняется двумя исполнителями в следующем порядке:
|
|
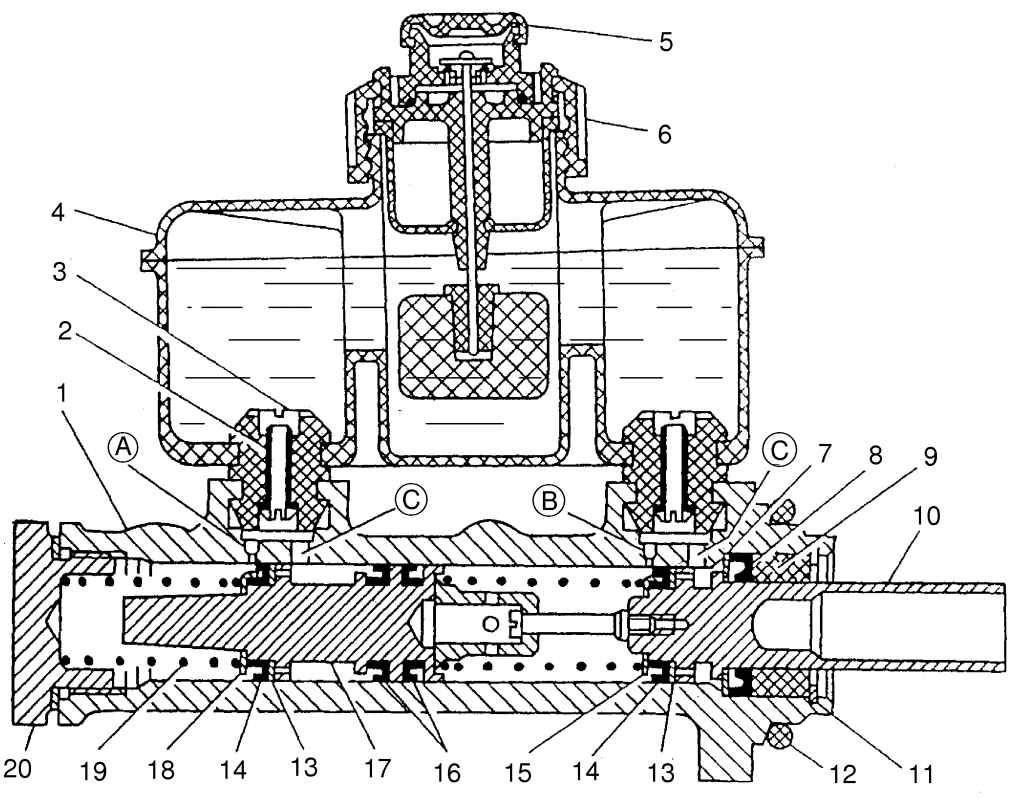
Рис. 8.3. Главный тормозной цилиндр: 1 — корпус; 2 — трубка; 3 — соединительная втулка; 4 — бачок; 5 — защитный колпачок; 6 — датчик сигнализатора аварийного падения уровня тормозной жидкости; 7 — упорное кольцо; 8 — наружная манжета; 9 — направляющая втулка; 10, 17 — поршни; 11 — стопорное кольцо; 12 — уплотнительное кольцо; 13 — шайба поршня; 14, 16 — манжеты; 15, 18— упорные шайбы; 19 — пружина: 20 — пробка; А, В — компенсационные отверстия; С — перепускные отверстия |
— отвернуть датчик 6 (см.
рис. 8.3) и залить в бачок 4 тормозную жидкость до метки МАХ;
— очистить от грязи клапаны прокачки передних и задних тормозных механизмов, снять с клапанов прокачки резиновые защитные колпачки;
— надеть на головку клапана правого заднего колесного цилиндра шланг слива тормозной жидкости. Свободный конец шланга опустить в тормозную жидкость, налитую в чистый прозрачный сосуд;
— отвернуть клапан прокачки на 1/2 — 3/4 оборота, нажать на педаль тормоза. В положении полностью нажатой педали, помощник должен завернуть клапан прокачки. Повторять эту операцию до тех пор, пока не прекратятся выделения пузырьков воздуха;
— после прекращения прокачки помощник должен плотно завернуть клапан, в то время как педаль тормоза удерживается в нажатом положении. Снять шланг и надеть защитный колпачок;
— в такой же последовательности прокачать задний левый и передние тормозные механизмы.
При удалении воздуха из гидропривода тормозов необходимо своевременно доливать тормозную жидкость в бачок, не допуская «сухого» дна.
После прокачки долить тормозную жидкость в бачок до метки МАХ. Если прокачка выполнена недостаточно тщательно, то при нажатии на педаль тормоза в конце ее хода будет ощущаться некоторая упругость, большая или меньшая в зависимости от количества воздуха, оставшегося в системе. Ход педали при этом несколько увеличивается. В этом случае следует повторить прокачку.
Замена тормозной жидкости
Замена тормозной жидкости в системе необходима, поскольку она при эксплуатации впитывает влагу из атмосферы, чем ухудшает свои температурные свойства и вызывает коррозию цилиндров и поршней. Замена жидкости производится при сезонном обслуживании автомобиля (один раз в год).
Для замены тормозной жидкости необходимо:
— отвернуть крышку бачка с главного тормозного цилиндра, снять защитные колпачки с клапанов прокачки;
— надеть на головки клапанов резиновые шланги, свободные концы которых опустить в прозрачные сосуды, а затем отвернуть все клапаны на 1/2 — 3/4 оборота;
— слить отработавшую жидкость из системы, энергично нажимая на педаль тормоза и плавно отпуская ее. По мере прекращения истечения отработавшей жидкости завернуть клапаны прокачки;
— слить из сосудов отработавшую жидкость и поставить их на место под резиновые шланги; залить свежую тормозную жидкость в бачок главного тормозного цилиндра и отвернуть все клапаны прокачки. Энергично нажимая и плавно отпуская тормозную педаль, а также своевременно пополняя бачок тормозной жидкостью, заполнить систему свежей тормозной жидкостью; по мере появления в сосудах чистой тормозной жидкости завернуть клапаны прокачки;
— прокачать систему по описанной выше методике.
| предыдущая страница9.10.1. Проверка рабочей тормозной системы | следующая страница 9.10.3. Замена колодок тормозных механизмов передних колес |
Процесс прокачки тормозов с АБС
Дабы качественно выполнить поставленную задачу желательно производить прокачку с помощником, начиная прокачивать тормозную систему с передних колес, затем задних (правое и левое).
Давление в тормозной системе с АБС может колеблется до 180 атм, именно по этому первым делом нужно сбросить его.
Сброс давления происходит методом разрядки аккумулятора давления. Для этого выключите зажигание и около 20 раз нажмите на педаль тормоза. А затем для перехода к следующему этапу прокачки тормоза отключите разъемы на бачке с тормозной жидкостью.
Общий принцип как прокачать тормоза с АБС
- Находим и извлекаем предохранитель в блоке отвечающий за работу АБС;
- Откручиваем колесо и находим штуцер РТЦ для прокачки тормоза;
- Начинаем прокачивать тормоза с абс при выжатой педали;
- Включаем гидравлический насос (включив зажигание, на приборной панели загорится лампочка АБС) и ждем пока весь воздух не выйдет;
- Закручиваем штуцер и отпускаем педаль тормоза, если лампочка АБС больше не горит – все сделано правильно и воздух полностью вышел.
Последовательность удаления воздуха из ТС
Начинаем прокачивать тормоза с переднего правого, а потом левое. Процедура происходит при выключенном зажигании (положение на «0») и снятой клемме на бачке ТЖ.
- Надеваем шланг, с бутылочкой, на штуцер и открываем его (рожковым ключом). Надавать нужно именно прозрачный шланг, чтобы было видно пузыри воздуха, а также другой конец шланга должен быть полностью помещен в жидкость.
- Выжимаем полностью педаль и держим, докуда не выйдет весь воздух.
- Закрутить штуцер и отпустить педаль как пойдет жидкость без воздуха.
Задние колеса прокачивается с включенным зажиганием на положении ключа «2».
- Как и при прокачке передних колес надеваем шланг на штуцер для прокачки на суппорте.
- Выдавив полностью педаль, поворачиваем ключ зажигания (чтобы запустить гидравлический насос). Наблюдаем за выходом воздуха и контролируем уровень тормозной жидкость в бачке (периодично доливаем). Чтобы насос не выше из строй нужно все время следить за уровнем ТЖ (чтобы не допустить работу «всухую»). А также не позволять непрерывно работать больше 2 мин.3.Штуцер перекрываем после полного выхода пузырьков воздуха, а также выключается насос и отпускается тормоз.
Чтобы правильно прокачать тормоза с абс на заднем левом колесе последовательность действий нужно немного изменить.
- Как в предыдущих случаях сначала надеваем шланг на штуцер и откручиваем не полностью, а только на 1 оборот, причем педаль не нужно выжимать.
- Поворачиваем ключ зажигания, чтобы запустить гидравлический насос.
- Как только воздух выйдет, выжимаем тормозную педаль до половины и закручиваем прокачивающий штуцер.
- После чего отпускаем тормоз и ждем остановки насоса.
- Выключаем зажигание и подключаем снятый разъем с бачка.
Если прокачивать тормоза нужно вместе с модулятором ABS то информацию по такой процедуре можно посмотреть тут.
В обязательном порядке после того как прокачали тормоза прежде чем выезжать нужно проверить герметичность системы и отсутствие подтеков. Контрольно проверить уровень тормозной жидкости.
Тормоза с ABS
Тормозная система непрерывно совершенствуется, и наличие в автомобиле ABS первых поколений никак не влияло на способ прокачки тормозов. Сейчас EBD, BAS, ESP, SBC и прочие вспомогательные функции существенно усложнили процесс, а зачастую сделали его невозможным в домашних условиях.
Гидроаккумулятор, насос, гидроклапана – наличие в системе этих компонентов, управляемых ЭБУ, требует серьезного диагностического оборудования. Поэтому, если в инструкции к машине нет четких указаний по прокачке и вы не уверены в правильности действий — лучше обратиться на СТО.
Не шутите с тормозами!
Мне нравится2Не нравится
Замена тормозной жидкости своими руками
Полная замена тормозной жидкости — одна из обязательных процедур, направленная на обеспечение правильного функционирования тормозов авто. Возможна замена тормозной жидкости своими руками, а также она может быть проведена на СТО.
Но данная процедура не относится к сложным, по этой причине замена тормозной жидкости с АБС своими руками вполне по силам большей части автовладельцев. Это позволяет сэкономить. Правда, иногда замена тормозной жидкости самотёком в машине с АБС требует использования специальных приспособлений. Давайте разберемся, когда же менять тормозную жидкость?
Периодичность замены тормозной жидкости
Интервал замены тормозной жидкости определяется:
- Маркой авто (нередко автопроизводитель указывает периодичность либо пробег в км — после преодоления данного расстояния требуется менять жидкость).
- Применяемой жидкостью (составы более высокого качества реже нуждаются в замене).
- Условиями использования машины (насколько герметичны тормоза).
Как часто менять тормозную жидкость в автомобиле? Её замену осуществляют:
- Спустя два-три года либо после 50 000 км пробега (зависит от того, что произойдёт раньше).
- В случае неподвижности автомобиля в течение двух и более лет.
- После ремонта элементов тормозной системы (к магистралям, колодкам, трубкам, патрубкам, суппорту это не относится, если во время ремонта не разгерметизировалась система, в которую входит конкретная деталь).
- Когда жидкость находится в непригодном состоянии (значительно загрязнена либо увлажнена на 3% и более).
Выбор жидкости
Главный принцип в этом случае состоит в использовании жидкости, рекомендуемой автопроизводителем. Это касается её класса и основы.
Замена жидкости
Что делать, если планируется соответственно регламенту техобслуживания собственного авто попросту выполнить замену жидкости? Иногда это предусматривается спустя 2 года, иногда — спустя 3. Здесь поможет такой метод, как проливка тормозной системы новой жидкостью.
Бачок, содержащий данную жидкость, имеет высокое размещение, а тормозуха из него стекает книзу, к цилиндрам, под воздействием обычной силы тяжести. Основной плюс данного метода заключается в отсутствии необходимости в помощнике.
Сколько нужно тормозной жидкости для полной замены? Она приобретается с некоторым запасом (минимум литр). Почти у каждого легкового авто вне зависимости от его характеристик объём жидкости в тормозной системе составляет 0,5 л.
Следует учитывать, что замену осуществляют посредством перемешивания, по этой причине допустимо проливание через тормозную систему немного большего объёма тормозной жидкости. Следует запастись 1 л жидкости какой угодно марки (всеявляются совместимыми). DOT-4 — наиболее популярная и используемая почти во всех авто жидкость.
Таким образом, для замены жидкости нужна установка авто на специальную эстакаду либо канаву с обеспечением прохода между местом, где возможно пополнение бачка, содержащего жидкость, и тормозными цилиндрами всех колёс авто.
Рекомендации
Некоторые советы пригодятся как новичкам, так и автомобилистам с опытом:
- Тормозная жидкость должна меняться в чётком соответствии с техрегламентом при любом её состоянии.
- Допустимо смешивание только тех жидкостей, которые принадлежат к одному и тому же классу.
- Если автопроизводитель однозначно указал, что для авто нужно применять именно гликолевую жидкость, это означает, что заливание внутрь «минералки» недопустимо. И наоборот. Заменять жидкость нужно в полном соответствии со всеми требованиями автопроизводителя.
- Недопустимо наличие воды в составе. Иначе возможно закипание жидкости в условиях более низкой температуры, чем та, на которую продукт рассчитан. Это иногда вызывает отказ тормозной системы.
- Следствием загрязнения жидкости может стать неправильное функционирование тормозов (при повышенной вязкости это вещество не сумеет быстро передавать усилия механизмам).
- После замены требуется прокачка тормозной системы. В случае отказа от этой операции есть риск наличия воздуха внутри. Это является недопустимым, так как правильная работа тормозов станет невозможной.
- Для протирания расширительного бачка лучше использовать ветошь, которая лишена ворса. Недопустимо его промывание водой.
Типы систем АБС
- ABS включает: блок гидроклапанов, гидроаккумулятор, насос (прокачивается в гаражных условиях);
- Насос, гидроаккумулятор и блок гидроклапанов размещены по разным узлам, такая тормозная система кроме модуля ABS включает в себя и дополнительные модули ESP, SBC (прокачивается в условиях СТО). Необходимо иметь диагностический сканер чтобы контролировать клапана модулятора.
Исходя из особенностей, можно сделать вывод, что прежде как прокачать тормоза с АБС определитесь с типом именно вашей системы так как данная инструкция будет актуальна лишь для стандартной антиблокировочной системы.
Часто задаваемые вопросы по прокачке тормозной системы
Автовладельцы задают вопросы по особенностям прокачки тормозной системы. Ответим на часто встречающиеся из них.
Какой правильный порядок прокачки тормозов?
Как мы уже выше указывали в статье, прокачку начинают с колеса, находящемся на самом дальнем расстоянии от главного тормозного цилиндра (ГТЦ).
Для машин в стандартном исполнении с левым рулём схема прокачки такая:
правое заднее колесо → левое заднее → правое переднее → левое переднее.
Узнать также о порядке прокачки на конкретном авто можно из мануального руководства на машину.
Как выпустить воздух без прокачки?
Для того чтобы не применять «народных» средств по прокачиванию тормозной системы, можно использовать автодиагностический сканер и программу VAG-COM. Такая методика работы изложена выше в нашей статье.
Как правильно прокачивать с заглушенным или заведенным двигателем?
Тормозную систему следует прокачивать на машине с выключенным силовым агрегатом. Так советуют мастера сервисов по ремонту автомобилей.
Нужно ли прокачивать тормоза при замене тормозных колодок?
Ответ на этот вопрос также был дан в нашей статье. Повторим, что сам ход операции по смене колодок торможения не влияет на механизмы. Однако во время работы могут произойти случайные повреждения: мест соединения, тормозных шлангов и т. д. Поэтому во избежание негативных последствий рекомендуется выполнить прокачку системы.
Нужно ли прокачивать тормоза при замене одного суппорта?
Любое вмешательство в конструкцию тормозной системы требует последующей прокачки тормозов. Поэтому при замене одного суппорта следует выполнять данную операцию.
Ошибки при прокачке тормозов
Не всегда автолюбителям удаётся качественно прокачать систему торможения. Во многом причина кроется в ошибочных действиях, которые они совершают.
Обозначим типичные ошибки:
- При любом методе прокачки нельзя допускать падения уровня техжидкости в расширительном бачке ниже указанного на его корпусе минимальной отметки. Если это произойдёт, то в систему попадёт воздух, вся выполненная работа пойдёт насмарку. Также такая небрежность чревата выходом из строя насоса, который будет в данном случае работать «на сухую».
- При доливке или смене тормозной жидкости не следует смешивать разные по техническим характеристикам «тормозухи». К примеру, во время смешивания гликолевой и минеральной техжидкости образуется соединение, которое может вывести из строя резинотехнические изделия системы, застопорит её загущенным веществом. Также нельзя соединять разные по классу вещества. Тормозные жидкости классов DOT5, DOT4, DOT3 обладают различными параметрами, в частности температурой кипения. Это может снизить эффективность вещества.
- Не нужно во время процедуры создавать давление в расширительном бачке выше нормы – 0,8 Атм. Повышенный показатель может привести к повреждению стенок корпуса, вытеканию «тормозухи».





























